Overview:
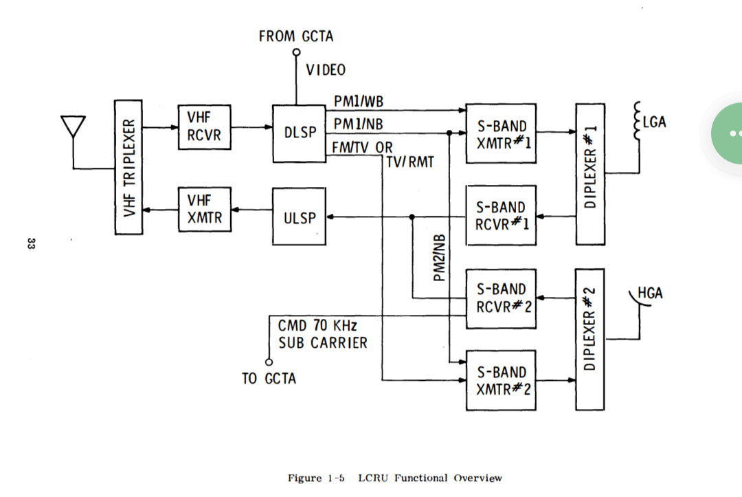
High gain antenna: TV transmission
Low gain antenna: voice communications
Jet Propulsion Laboratory (JPL) developed the Unified S-band (USB) tracking and communication system, used for communication 2025–2120 MHz (uplink) and 2200–2290 MHz (downlink).
Reference:











留言
張貼留言